How To Install Round Columns
ClassicWood™ Wood Columns Installation
Hardware Needed
- 5 Non-corrosive dowels – 2 per Column
- 2 1/2″ Non-corrosive screws
- twenty-year silicone caulk
- Loftier quality wood filler
If you are using carve up bases, shafts and capitals, be sure to marking each set so that you can continue the matching halves together later on, during associates.
Critical Ventilation Details
Ventilation must exist provided at the meridian of the cavalcade past the installing contractor. All warranty claims will exist voided if columns are not properly ventilated every bit shown at right.
Acclimating, Storage & Handling Instructions
Exterior wood columnsmust exist stored in a secure, dry, and well-ventilated area. Columns should non to be stored under a plastic tarpaulin as moisture may collect from the atmosphere and may damage the column. The cavalcade shaft should be raised off the basis so that air circulates around the cavalcade. Column shafts, wooden pillars, or wooden components should non be stored in direct contact with concrete or other masonry.
If our standard primer and asphaltum coatings are non factory applied, all wood components should be painted with ii coats of a high quality oil based primer prior to commitment to the job site. Also, asphaltum paint should be applied a minimum of iii feet upwards the inside of the shaft, and on the inside walls of a wood base of operations.
Be sure to keep any column components that are split for reassembly paired with their matching halves. Failure to keep matching halves together may have detrimental effects on reassembly.
Interior forest columns need special care during storage and installation. I outcome is the possibility of rapid changes in the normal wet content of the wood or extreme moisture weather, too loftier or too low. This is especially true in the wintertime months where nosotros ship from our plant where the environmental moisture is ordinarily somewhat high to very low wet locations of the country. Extreme ecology dryness may create problems with woodwork more serious than those created by too much moisture. Under normal conditions the wet content of most forest is in the seven% to 10% range when information technology leaves our plant. The relative humidity in about interior spaces in the U.S is thirty% to twoscore%. If this is truthful at your jobsite, this will continue the moisture content levels of your wood columns in an acceptable range. If humidity levels are above 50% or below 25%, information technology will adversely effect your columns and other woodwork. A rapid loos of moisture from the wood, can cause checking or splitting, and this could even happen at the glue seams making them appear to be opening. Conversely, it is too important that wood columns not be stored in very damp conditions. This will cause the woods to warp, great, grain to raise, and may cause glue articulation failure. Because of the nature of circular wood columns, there is no room for eccentric movements caused by major wet changes. The changes in forest acquired by these moisture change issues are natural to wood products, and are a natural holding of all woods. Therefore, these changes in woods due to these moisture bug are not a manufacturing defect and equally such are not covered by the manufacturers warranty.
Therefore, we recommend that you take care with moisture conditions in the environment that the columns will be stored or installed to maintain adequate moisture levels, and that yous avert wide swings in the moisture content. Nosotros besides recommend that y'all finish the columns as soon as possible after arrival, especially speedily for stain grade columns. Columns must exist stored in a well ventillated area with acceptable moisture content as described above, and non subjected to astringent moisture weather condition. Be aware that heating systems may cause very dry out air, similar to exterior cold dry air weather condition. Take care when turning on the heating organisation for the first time at your job site, as this may drop moisture content too speedily, and to also low a level. Cheers for your diligence in post-obit these instructions for proper product storage and care.
Installation of Plinth/Base and Capitals
Fiberglass plinths, aluminum plinths, or lead plates must be used to provide ventilation and deed as a bulwark against concrete or other masonry.
- Determine the position of the center betoken of the cavalcade by dropping a plumb line from the center of the beam to the deck. This procedure volition identify the center of the plinth so that the column capital will align properly with the beam. (See Effigy Below)
- Set ii 5″ non-corrosive dowels in the deck on diagonally opposing corners of the plinth. Allow them to protrude 3/4″ from deck. This will prevent the plinth from shifting. Be sure to allow for the thickness of the plinth when selecting the dowel position.
- Set plinth over dowel pins and check for level. If the deck is pitched, scribe the plinth and apply a fine tooth hand saw or hack saw to trim plinth for level. Be sure to maintain the same amount of ventilation expanse originally provided past the plinth. For columns provided with lead plates and no plinth, remove the plates, level the column and supplant the plates after resealing the trimmed expanse with a loftier-quality oil base pigment.
- Reset associates over dowels and recheck level.
- Position the base on the bottom end of the shaft. Pre-drill through the base and into the shaft for fasteners. Apply 20 year silicone caulk to the base area and where the column shaft intersect. Secure base and plinth to the shaft using not-corrosive screws. (Come across Figures Below)
- Pre-drill through shaft and into the upper-case letter for fasteners. Apply caulk to the area where the upper-case letter and shaft intersect. Secure capital to shaft using non-corrosive screws. (See Below)
Installing the Shaft:
- Raise the beam to permit the base/ shaft/capital letter assembly to be correctly positioned underneath.
- Caulk the area where the beam meets the capital and elevator shaft into position.
- Lower beam onto cavalcade assembly. Attach beam to capital. When unable to raise the beam, employ shims to lock the capital in place before securing.
Trimming Shaft to Exact Height:
To make up one's mind the overall height of the column, measure the opening distance from the finished beam to the finished flooring at the centre of where the cavalcade will stand. Be sure to measure out ALLof the column locations, as opening heights are often different due to variations in the deck.
Be Sure TO ACCOUNT FOR THE Acme OF THE PLUG FOR COLUMNS WITH ORNAMENTAL CAPITALS
Be sure to include capital (with plug for ornamental capitals), base and plinth when determining desired shaft length to fit opening. Measure from the upper most top cove on the column shaft along the edge of at least four staves effectually the circumference of the column shaft to obtain an authentic lesser trim line.
The end grain on the lesser of a column shaft field trimmed to length must be coated with two coats of oil based paint prior to installation.
Attachment of Ornamental Capitals
Ornamental Capitals are load bearing and are bandage from a weatherproof resin blended, non-loadbearing capitals, for interior use merely, are cast from plaster and are supplied with a load begetting plug. Use Enclosed Plug When Installing. (The Loadbearing plug should exist approximately 1/viii″ taller than majuscule.) Later completely covering all areas of the capital (both inside and outside) with a high quality oil based paint, position capital over loadbearing plug and onto column shaft. Pre-drill through capital and plug at an bending so that the attachment fastener will intersect the shaft Caulk the surface area where the capital meets the shaft. Attach the capital using not-corrosive screws. Install the atomic number 82 flashing on top of the capital letter, and turn the edge of the flashing down over the edge of the capital to human activity as a baste edge.
Attachment of Wood Capitals
Pre-drill through shaft and into upper-case letter for fasteners. Utilise caulk to the area where the upper-case letter and shaft intersect. Secure capital to shaft using non-corrosive screws.
Finishing Instructions
Nailing
Non-corrosive (stainless steel or aluminum blend) nails and fasteners should be used on Redwood exposed to moisture. Elevation quality double hot-dipped galvanized nails will also perform well if the galvanized coating is not damaged during nailing. Experience indicates that nails galvanized by other processes are unsatisfactory, and similar ordinary corrosive nails, can react with Redwood's natural extractives when wet to cause stain streaks.
- No wood blocking or other obstacle should be installed on the interior of the cavalcade which would interfere with the natural expansion and contraction of the column.
- Seal all fastener holes with caulk and repair holes or nicks which occurred during installation with a high quality woods filler. Use patching plaster to repair whatsoever nicks or scratches in ornamental limerick capitals.
- (See Finishing Instructions) immediately after installation apply at least two coats of a high quality oil based paint to all exterior surfaces. See paint manufacturers recommendations for proper paint application. Annotation: An even coating of at least four.0 mil dry pic thickness is required. (FHAminimum of 5.0 mil is preferred.)
The end grain on the lesser of a cavalcade shaft field trimmed for length must be sealed prior to installation with ii coats of a loftier quality oil based paint.
All interior and exterior surfaces of plaster composition capitals must be coated with ii coats of a loftier quality based primer.
Reassembly of Split up Column Shafts
Proceed all seams at 90 degrees to forepart view. Halves will arrive marked. Be very conscientious to keep proper halves together. Employ a quality resourcinal agglutinative for joining wood pieces and a quality polyester resin for fiberglass pieces.
- The ii-slice plinth and base are installed as in Steps i through iv, join halves with resourcinal adhesive and not-corrosive fasteners.
- Natural stresses in forest may crusade variations in the roundness of the shaft once columns are cutting in halves. Determine the roundness of the shaft by pre-assembling on the ground. Whatever area appearing elongated volition crave l" 10 ane″ x 4″ blocking to exist placed at a point opposite that area for shaft to be pulled back into round while clamping. There should be no more than than a i/32″ difference at seam.
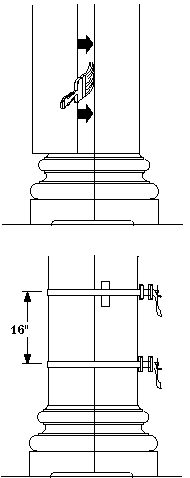
-
Caulk with xx-year silicone caulking underneath halves, so identify them on the base and align splines leaving a gap betwixt halves. Fully encompass joints of both halves within gap with resourcinal agglutinative. Be certain there is consummate wood-to-wood contact along joint. - Place chain/clamps not less than sixteen″ apart along the length of the shaft. To forestall damage, place strips of rug beneath clamps and tighten clamps to 80 psi. Let stand for a minimum of 24 hours. (Follow adhesive manufacturers recommendations for clamping time under absurd or moist conditions.) Adjust clamps and use blocking where necessary to pull columns into round. It may also be necessary to tap along seam with a condom mallet. Bank check and be sure there is consummate contact all along the joint, then remove excess glue.
- Refer to pages 4 & 5 for capital installation. Join halves with resourcinal agglutinative.
- Final Steps: Make full whatever gaps forth seams of shaft and capital with woods filler and sand smooth with fine sandpaper.
Made in Half Ornamental Capitals
- Match corresponding numbers on each half capital letter and shellac both cut faces of the uppercase to seal prior to gluing.
- Center half capital on the column and secure it to the wooden plug (or shafts) past drilling holes through the capital into the plug and countersinking the fasteners.
- In one case HALF OF THE CAPITAL IS SECURED, apply adhesive to the secured uppercase. Clasp other half of capital onto the secured capital and secure by drilling holes and countersinking fasteners.
- Have molding plaster or whatever premixed plaster compound and patch the seams. Once plaster is completely dry sand excess plaster from joints.
- Place flashing over capital and bend over edges to protect capital from moisture. Caulk the seams where the capital meets the shaft and the axle before applying two coats of oil base of operations paint.
Source: https://meltonclassics.com/products/architectural-columns/wood-columns/how-to-install-wood-columns/
Posted by: morenoexperearie.blogspot.com

0 Response to "How To Install Round Columns"
Post a Comment